1、了解電阻應變式傳感器的基本結構與使用方法。
2、掌握電阻應變式傳感器放大電路的調試方法。
3、掌握單臂電橋電路的工作原理和性能。
二、實驗所用單元
電阻應變式傳感器、電阻與霍爾式傳感器轉換電路板(調零電橋)、差動放大器、直流穩壓電源、數字電壓表、位移臺架。
三、實驗原理及電路
1、電阻絲在外力作用下發生機械變形時,其阻值發生變化,這就是電阻應變效應,其關系為:ΔR/ R=Kε,ΔR為電阻絲變化值,K為應變靈敏系數,ε為電阻絲長度的相對變化量ΔL/ L。通過測量電路將電阻變化轉換為電流或電壓輸出。
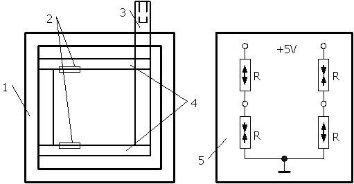
2、電阻應變式傳感如圖1-1所示。傳感器的主要部分是上、下兩個懸臂梁,四個電阻應變片貼在梁的根部,可組成單臂、半橋與全橋電路,最大測量范圍為±3mm。

1─外殼 2─電阻應變片 3─測桿 4─等截面懸臂梁 5─面板接線圖
圖1-1 電阻應變式傳感器
3、電阻應變式傳感的單臂電橋電路如圖1-2所示,圖中R1、R2、R3為固定,R為電阻應變片,輸出電壓UO=EKε,E為電橋轉換系數。

圖1-2 電阻式傳感器單臂電橋實驗電路圖
四、實驗步驟
1、固定好位移臺架,將電阻應變式傳感器置于位移臺架上,調節測微器使其指示15mm左右。將測微器裝入位移臺架上部的開口處,將測微器測桿使其與電阻應變式傳感器的測桿磁鋼吸合,然后調節兩個滾花螺母使電阻式應變傳感器上的兩個懸梁處于水平狀態,兩個滾花螺母固定在開口處上下兩側。
2、將實驗箱(實驗臺內部已連接)面板上的±15V和地端,用導線接到差動放大器上;將放大器放大倍數電位器RP1旋鈕(實驗臺為增益旋鈕)順時針旋到終端位置。
3、用導線將差動放大器的正負輸入端短接,再將其輸出端接到數字電壓表的輸入端;電壓量程切換開關撥至20V檔;接通電源開關,旋動放大器的調零電位器RP2旋鈕,使電壓表指示向零趨近,然后切換到2V量程檔,旋動調零電位器RP2旋鈕使電壓表指示為零;此后調零電位器RP2旋鈕不再調節,根據實驗適當調節增益電位器RP1。
4、按圖1-2接線,R1、R2、R3(電阻傳感器部分固定電阻)與一個的應變片構成單臂電橋形式。
5、調節平衡電位器RP,使數字電壓表指示接近零,然后旋動測微器使電壓表指示為零,此時測微器的讀數視為系統零位。分別上旋和下旋測微器,每次0.4mm,上下各2mm,將位移量X和對應的輸出電壓值UO記入下表中。
表 1-1
| X(mm) | 0 | ||||||||||
| UO(mV) | 0 |
五、實驗報告
1、根據表1-1中的實驗數據,畫出輸入/輸出特性曲線 ,并且計算靈敏度和非線性誤差。
2、傳感器的輸入電壓能否從+5V提高到+10V?輸入電壓的大小取決于什么?
3、分析電橋測量電阻式傳感器特性時存在非線性誤差的原因。


