設備的安裝水平儀的應用
機座的功能和安裝
在機械傳動系統的安裝中,原動機的安裝非常重要,它必須與它所驅動的工組機中的機械設備進行校準,而且在它運行時還要保證同軸性。機械由許多相互獨立的部件組成,這些部件不用直接安裝在地基(或安裝底板)上,但它們相互之間必須進行校準。然而,機械必須安裝在機座上,由機座再安裝到地基上。機座是一塊實心的金屬板,通常為鋼板。它為機械的安裝提供一個水平的、剛性的表面,便于各部件間進行校準。
機座通過地腳螺栓安裝在地基上,并在地腳螺栓與地基間填充水泥漿。水泥漿是混凝土的一種,它起到支撐機座的作用,并可增大機座的剛度。
在固定機座之前必須對其進行調水平。調水平是指使機座的表面平行于地面。
水平儀的功能及其應用
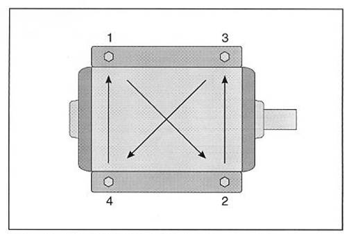
水平儀是用于檢查表面是否水平的一種儀器。水平儀是由具有高精度金屬棱邊的金屬板和一些充滿液體的管子組成。這些充滿液體的管子和直的金屬棱邊平行或垂直。每個管子中都有1個氣泡和2條校準線(應配水平儀的圖)。這些氣泡和校準線是用來確定所檢測的平面是否與地面水平或垂直。
水平儀可用來檢測水平或是垂直的表面。其中水平的氣泡是用來測量水平表面與地面的平行度,當氣泡位于兩條校準線之間時表示所測表面與地面平行。同理,水平儀中2個垂直的氣泡是用來測量表面與地面的垂直度,當氣泡位于兩條校準線之間時表示所測表面與地面垂直。
實驗3 用水平儀去測定表面的方位
在這里,你將用三維水平尺去測量教室中的一些表面,在后續技能中,你將用這個技能確定表面在什么時候是水平的。
1. 從你的DB-PS03工具箱中找到三維水平尺和塞尺,如圖29所示
2. 執行下列步驟去辨識三維水平尺標準的組件

圖29
A. 挑出三維水平尺放在手中檢查
B. 找出2個垂直的氣泡
C. 找出水平的氣泡
D. 找出加工精度比較高的表面。
3. 測定教室中四面墻的方向。

4. 對于不精確垂直地面的墻,將三維水平尺放置在墻上,其傾斜度大的配合用塞尺進
行測量如圖31所示。直到水平尺氣泡處于刻度中心。記錄組合塞(尺)片的厚度。假如墻的傾斜度過大,可以直接用尺子代替塞尺。

5. 用上述方法測量DB-PS03工作臺的水平方位。
6. 收拾好組件。
實驗4 裝配和對準電機
1. 執行下列安全檢查
● 佩戴防護眼鏡
● 穿著合身的衣服(不可穿較寬松的)
● 項鏈,手表,戒指、領帶等飾品必須摘下
● 將長發盤起或置于帽子中
● 穿厚底鞋
● 穿短袖衣服,或將長袖挽起來
● 地面不可潮濕
2.執行電機控制箱安全開關的鎖定關閉步驟
3.找到軸板1安置之于工作站頭頂架子上,如圖52所示。

圖52
4.儲存抽屜單元找到四個與電機安裝孔相配的六角螺釘(標準件),調整墊圈,鎖緊墊圈和螺母
5.找到常轉速電機并將之安置于DB-PS03工作臺面,如圖53所示。

圖53
6.在軸板1上找到常轉速電機的四個支撐墊
7.確定工作表面,電機座底部和支撐墊清潔及沒有毛刺。
8.將銀色支撐墊與電機腳對準,如圖54所示,這些支撐墊用于調整電機到想要的高度。

圖54
9.執行下列的步驟去安裝電機
A. 用裝配螺釘,螺母和墊圈將電機安裝到工作表面,如圖55所示,用手工擰緊。
B. 用15厘米的尺子將電機與工作表面邊對準,調整電機使得它的兩個腳到工作臺表
面的邊距離相等,如圖55所示

圖55
C. 選擇兩個扳手按照如圖的順序進行擰緊,如圖56所示。注意不要把某一個螺釘固
定過緊,以免引起電機基座變形。這種方法用于任何電機的固緊。

圖56
10.執行下列步驟標定電機軸
A.將水平儀放置在電機軸上,如圖57所示,觀察氣泡的位置。務必使得水平儀放置在軸的光滑表面上,一些軸是階梯軸,所以水平儀必須放置在其中一段上面,如圖57所示。

圖57
B.在水平儀底部的一端插入塞尺葉片直到氣泡處于中心位置,記錄葉片的厚度。如果氣泡向右邊傾斜,用葉片墊其左端,反之用葉片墊右端。
塞尺葉片厚度________________(mm)
C.如圖58測出水平儀有效長度
水平儀有效長度(LE)________________(mm)

圖 58
D.測量電機裝配螺栓之間的距離,如圖58所示
螺栓間距離(LB)________________(mm)
E.計算裝配螺栓距離與水平儀有效長度之比 R= LB/ LE
E. 計算所需要的調整墊片厚度
墊片厚度=塞尺葉片厚度×R
G.擰松4個螺釘
H.在電機的兩只腳下插入相應厚度的調整墊片(按步驟F中所計算出的墊片厚度),前兩只或者后兩只都可以,這樣可以使得軸上的水平儀氣泡處于中心位置。采用如圖59所示調整墊片,它們放在儲物柜的抽屜1中。

圖 59
I.檢查電機軸的水平。
如果已經水平,則進入下一步,否則繼續更換墊片。
11.執行下列步驟去檢查電機軸徑向跳動。
A.在工作臺上安裝好磁性表座、百分表、使百分表的測頭與電機軸接觸上,如圖 60所示。
B.調整百分表使其表盤指針處于量程范圍的中間,調零。

圖 60
C.轉動電機軸從鍵槽的一邊轉到相反方向的另一邊,記錄最大最小讀數。
最大讀數___________________(mm)
最小讀數___________________(mm)
D.計算指針的總讀數,即最大讀數和最小讀數之間的差值。
指針總讀數(T)_______________(mm)
E.計算軸的徑向跳動。
它是指針總讀數(T)的1/2,如果其大于0.05mm,向你的老師咨詢
F.擰緊螺栓(按照圖56所示的十字交叉法)
12.執行下列步驟去檢查電機軸端的漂移
A.調整百分表位置使測頭處于軸端,如圖61所示

圖 61
B.調整百分表使其表盤指針處于量程范圍的中間,調零。
C.用手朝著電機方向盡可能推電機軸,記錄指針的讀數(D1)
D.沿背離電機方向用手拉電機軸,記錄指針的讀數(D2)
E.計算軸向跳動
它是步驟C、D兩讀數(D1、D2)之差。
如果其大于0.025mm,向老師咨詢
13.執行下列的步驟連接和啟動電機
A.將電機控制單元的電纜線與墻上插頭連接,如圖62所示

圖 62
B.連接常轉速電機電源線到電機控制單元的電機端口,如圖62所示
C.確定電機控制單元上的電源開關處于關閉狀態
D. 解除鎖定/解鎖
E. 打開安全開關,電機控制單元上的主要電源指示器必須打開
F.確定電機附近沒有人
G.打開電機電源開關
14.關閉電機電源開關,電機緩慢停止
15.關閉帶鎖總電源安全開關
實驗5 用接觸式轉速表測量電機轉速
簡 介
在這項技能培訓實驗中,你將操作電機并且使用接觸式轉速表測量轉速。
1.執行下列安全檢查
● 佩戴防護眼鏡
● 穿著合身的衣服(不可穿較寬松的)
● 項鏈,手表,戒指、領帶等飾品必須摘下
● 將長發盤起或置于帽子中
● 穿厚底鞋
● 穿短袖衣服,或將長袖挽起來
● 地面不可潮濕
2.執行電機控制箱安全開關的鎖定步驟
3.假如你的電機沒有安裝好,重復實驗4安裝電機
4.執行下列步驟熟悉轉速表,找到并檢查轉速表以及其上的一些按鈕,如圖65所示

圖65
5.開啟電機
6.執行下列步驟去測量電機軸轉速
A.按住測量按鈕
B.將轉速表測量頭與電機軸端接觸,如圖66所示

圖 66
C.待轉速表上顯示的數字穩定后,所顯示的數字即為電機的轉速
7.關閉電機
8.關閉帶鎖的安全開關
9.拆卸電機,將各部件收好
附:接觸式轉速表的主要技術參數及其他使用
測試范圍:0.5~19999RPM(轉/分)接觸轉速
0.05~1999.9m/min(米/分)接觸線速(公制)
0.2~6560ft/min(英寸/分)接觸線速(英制)
分 辨 力:
轉 速:0.1RPM(轉/分) (0.5~999.99RPM)
1 RPM(轉/分) (1000RPM以上)
線 速:0.01m/min(米/分) (0.05~99.99m/min)
0.1m/min(米/分) (100m/min以上)
0.1ft/min(英寸/分) (0.1~999.9ft/min)
1ft/min(英寸/分 (1000ft/min以上)
操作說明:
(一)、接觸轉速方式
A、裝好電池后將功能開關撥至接觸轉速檔-RPM,按裝好接觸配件。
B、將接觸橡膠頭與被測物靠緊并與被測物同步轉動。
C、按下測量鍵開始測量,待顯示值穩定后釋放測量按鈕,測量值自動存儲,測量結束。
(二)、接觸線速方式(公制)
A、將開關撥至接觸線速檔-m/min,換上線速測量配件。
B、將線速配件與被測物緊靠,并與被測物同步轉動。
C、按下測量按鈕開始測量,等顯示值穩定后釋放測量按鈕,測量值自動存儲,測量結束。
(三)、接觸線速方式(英制)
將開關撥至接觸線速檔-ft/min,換上線速測量配件,測量方法與(二)中B、C相同。
實驗6 安裝和校準電機
簡 介
在這項技能培訓中,你將裝配和校準電機,包括檢查電機軸的軸向跳動和徑向跳動
1. 執行下列安全檢查
● 佩戴防護眼鏡
● 穿著合身的衣服(不可穿較寬松的)
● 項鏈,手表,戒指、領帶等飾品必須摘下
● 將長發盤起或置于帽子中
● 穿厚底鞋
● 穿短袖衣服,或將長袖挽起來
● 地面不可潮濕
2. 找到軸面板1并將其放在工作臺上方的架子上

3.從儲物柜抽屜中找到四個M8六角頭螺栓及其相應的平墊圈、彈簧墊圈和螺母
4.將電機安裝在工作臺上的適當位置,如圖68所示

圖 68
5.安置大電機的支撐墊塊在軸面板1上
6.確認工作臺表面、電機底座和所有的支撐墊塊應清潔無毛刺
7. 將3個銀色的電機支撐墊塊放在3個腳下,將金色的電機支撐墊塊放在在剩下的1
個腳上,如圖69所示
金色的支撐墊塊用于保證軟支撐條件的存在。

圖 69
8. 執行下列步驟,用塞尺檢測初始的軟支撐
A. 從塞尺葉片中選擇0.08毫米的葉片
B. 嘗試在電機的每個腳下插入該塞尺葉片,若葉片可自由的通過多數電機腳之下,則
證明軟支撐條件存在。
C. 假如找到了軟支撐,則用不同的塞尺葉片去確定該支撐的電機腳下的空隙。
D. 插入與步驟C所測量的空隙值相等的調整墊片。
E. 在插入調整墊片后,使用0.08mm的塞尺葉片重新檢查初始的軟支撐條件。
9. 執行下列步驟安裝電機
A. 將電機用螺栓,墊圈,螺母等安裝到工作臺表面,如圖70所示,手工擰緊。
B. 按照圖71所示順序擰緊電機

圖 70
10執行下列步驟檢查和校驗最后的軟支撐間隙
A. 找到百分表和磁性表座,如圖72所示
B. 找到磁性裝配板和旋鈕,如圖72所示
|

圖72
C. 將裝配板放置在電機的一側,如圖73所示
D. 將裝配板用螺栓固定在工作臺表面:將螺栓穿過工作臺上的狹槽中,從工作臺下面
將旋鈕旋轉到螺栓上
E. 將帶有磁性表座的百分裝放在磁性裝配板上,如圖73所示
F. 將百分表的探針放在接近電機安裝螺栓的位置上,如圖73所示,將指針調零,調整百分表使得它的探針與支撐墊塊接近垂直,如圖所示,盡量接近90度。

圖 73
G. 擰松該電機裝配螺栓,觀察百分表表盤上的指針,如果指示器讀數大于0.25mm,則證明軟支撐條件存在
H. 對其余的螺栓重復步驟F、G
I. 假如軟支撐條件存在,在電機的支撐墊塊下插入調整墊片去修正這個問題
J. 軟支撐條件修正后,擰緊螺栓
11.校準電機軸,如圖74所示(步驟同實驗4的標定電機軸)



12.拆卸所安裝設備,并將各部件收好。


