空化機理實驗裝置使用說明書
一、實驗目的
通過觀察由本儀器所演示的空化發生和演變、流道體型對空化影響及常溫下水的沸騰現象,加深對空化和空蝕現象的認識。
二、設備性能與主要技術參數
1、本實驗裝置由供水管、水泵、有機玻璃顯示屏、壓力表、實驗管道、閥門、空化杯、不銹鋼框架等組成。
2、采用低噪聲無銹蝕環保型小水泵,最高揚程:35m,額定流量:25L/min,功率:370W。
3、由3塊顯示屏整體組合而成,有機玻璃材質。
4、最大真空度接近10m水柱。
5、燈光照明,空化現象清晰可見。
三、實驗原理
在液體流動的局部區域,或由于流速過高,或邊界層分離,均會導致壓強降低,以致于降低到液體內部出現氣體(或蒸汽)空泡或空穴,這種現象稱為空化(也叫氣穴)。空化現象發生后,液流的連續性遭到了破壞。氣體空泡隨液體一起向下游運動,當壓強增加一定程度時,液體會以極高的速度向空泡內運動,氣泡潰滅從而引起附近的固體邊界的剝蝕破壞(稱作空蝕或氣蝕),并產生噪聲,結構振動、機械效率降低等。本實驗利用高速水流通過流道改變的區域時將產生壓強變化的原理來演示空化現象。
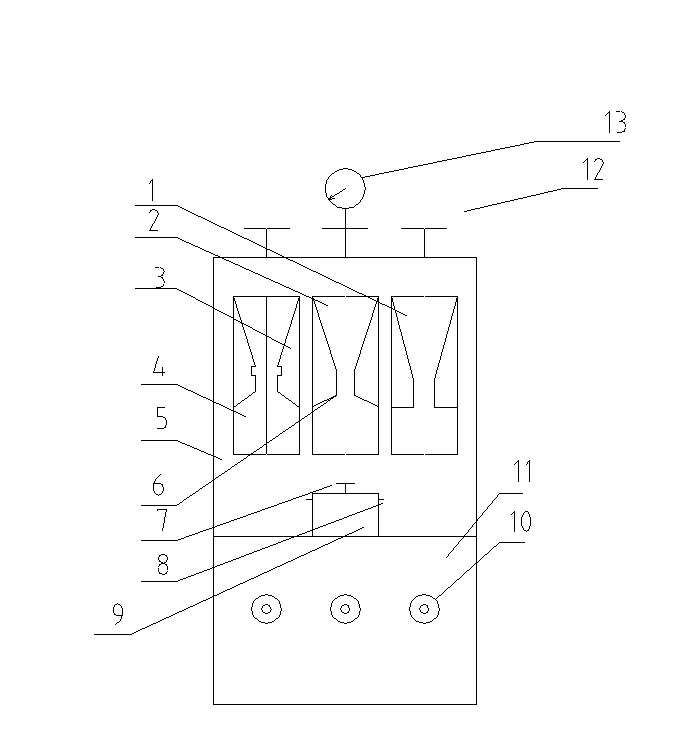
四、實驗裝置外形圖
本空化實驗儀專供教學實驗用,是一套小型臺式、整體安裝的自循環系統,可用以演示空化發生、演變及流道體型對其影響等,并可進行空化數的定量量測。實驗裝置如圖所示。

空化機理實驗裝置示意圖
1.流道①,文氏型空化顯示面; 2.流道②,漸縮空化顯示圖; 3.流道③,矩形閘門槽空化顯示面 4.流道④,流線型閘門槽空化流動顯示面; 5.流道顯示柜; 6.測壓點; 7.聯接短管; 8.管嘴; 9.空化杯; 10.閥門①、②、③; 11.自循環供水箱; 12.氣塞; 13.真空表
五、實驗指導
空化機理實驗裝置可用以演示空化發生原理、典型工程空化現象、流道體型對空化的影響以及初生空穴數的定量量測等。實驗指導提要如下:
1.空化現象的演示
在流道1、2、3三個閥門全開的條件下啟動水泵,可看到在流道1、2的喉部和流道3的閘門槽處出現乳白色霧狀空化云,這就是空化現象,同時還可聽到由空化區發出的空化噪聲。空化區的負壓(或真空)相當大,其真空度可由真空表(與流道2的喉頸處測壓點相連)讀出。最大真空可達10m水柱(98KPa)以上。
根據儀器顯示的空化區域分析實驗可知,容易發生空化的部位是:高速液流邊界突變的流動分離處,如水利工程中的深孔進口、溢流壩面、閘門槽、分叉管、施工不平整處,及動力機械中的水輪機、渦輪機、水泵和螺旋漿葉片的背面以及魚雷的尾部等。
2.空化機理
流動液體(以水為例)在標準大氣壓下,當溫度升到100℃,沸騰時水體內所產生大小不一的氣泡,就是空化。相應此時溫度(100℃)水的蒸汽壓強(標準大氣壓)被稱為汽化壓強(P2),這種現象亦可在水溫不高,壓強較低時得以發生。本儀器可清晰演示此現象的發生。
3.流道體型對空化的影響
這種影響可從流道2與3的空化對比看出。在閥門開關相同的條件下,流道的空化比流道2嚴重。表現前者初生空化數大于后者。
這也可從兩種體型閘槽的空化看出,流道1左右分別設有矩形槽和下游具有斜坡的流線形槽。實驗表明,在同等流量條件下,前者空化程度遠大于后者。
由此可知,流道體型對空化影響極大,是引發空化的重要條件之一。在高速流條件下,有時溢流壩面殘留的鋼筋頭,就可造成壩面大面積的空蝕破壞。因此,為防止空化發生,應使壩面盡量光滑平整,流道體型盡量流線型化。
六、實驗方法與步驟
1、接通電源,打開閥門10。
2、空化現象的演示:在流道①、②、③、④內觀察水流運動現象,可看到在流道①、②的喉部和流道③的閘門槽處出現乳白色霧狀空云,這就是空化現象,同時還可聽到氣泡潰滅的噪聲。空化區的負壓相當大,其真空度可由真空表13(與流道②的喉頸處測壓點相連)讀出。在流道①、②喉頸中部所形成的帶游移狀空化云,為游移型空化;在喉道出口處兩邊形成的附著于轉角兩邊較穩定的空化云,為附體空化;而發生于流道⑧中閘門槽(凹口內)旋渦區的空化云,則為旋渦型空化。
3、空化機理:流動液體(以水為例)在標準大氣壓下,當溫度升高至100℃時沸騰,水體內產生大小不一的氣泡,這就是空化。而當壓強小于水在此溫度下的汽化壓強時,水就要產生空化。先向空化杯9中注入半杯溫水,壓緊橡皮塞蓋,然后與管咀8(杯兩側各1只)接通。在喉管負壓作用下,空化杯內的空氣被吸出。真空表讀數隨之增大。當真空度接近6m水柱時,杯中水就開始沸騰。這是常溫水在低壓下發生空化的現象。
4、流道體型對空化的影響:從流道①、②的空化對比看出:在閥門開關相同的條件下,流道①的空化比流道②嚴重。從兩種體型閘槽的空化看出:流道③、④分別設有矩形槽和下游具有斜坡的流線形槽。在同等流量下,前者空化程度大于后者。
5、實驗結束,打開氣塞12,將流道內水放空,防止流道內結垢。實驗結束后,將水箱放空,并清洗水箱。
七、產品介紹
DB-KH 空化機理實驗裝置


實驗目的:
1、了解實驗裝置的組成。
2、掌握液體空化的機理,觀察空化現象。
主要配置:
顯示屏、水泵、水箱、空化杯、真空表、閥門、不銹鋼框架。
技術參數:
1、運行環境:溫度0-40℃,相對濕度:≤90%RH,電源:220V/50Hz,可連續操作。
2、水泵:最高揚程:65m,額定流量:4.0m3/h,功率:1.5KW。
3、由3塊顯示屏整體組合而成,喉道最大流速Vmax= 18m/s
4、最大真空度接近6000mm水柱。
5、燈光照明,空化現象清晰可
6、實驗所用的流體-水為全循環使用設計,充分節約水資源。
7、框架及臺面均為304不銹鋼材質,結構緊湊,外形美觀,操作方便。
8、外形尺寸:800×500×1800mm(長×寬×高),框架為可移動式設計,帶腳輪及禁錮腳。
1、了解實驗裝置的組成。
2、掌握液體空化的機理,觀察空化現象。
主要配置:
顯示屏、水泵、水箱、空化杯、真空表、閥門、不銹鋼框架。
技術參數:
1、運行環境:溫度0-40℃,相對濕度:≤90%RH,電源:220V/50Hz,可連續操作。
2、水泵:最高揚程:65m,額定流量:4.0m3/h,功率:1.5KW。
3、由3塊顯示屏整體組合而成,喉道最大流速Vmax= 18m/s
4、最大真空度接近6000mm水柱。
5、燈光照明,空化現象清晰可
6、實驗所用的流體-水為全循環使用設計,充分節約水資源。
7、框架及臺面均為304不銹鋼材質,結構緊湊,外形美觀,操作方便。
8、外形尺寸:800×500×1800mm(長×寬×高),框架為可移動式設計,帶腳輪及禁錮腳。


